各国标准电源线指南

新闻中心 各国标准电源线指南

各国电源线指南

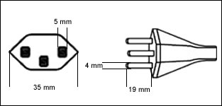
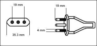
阿根廷IRAM 2063电源线插头

阿根廷 IRAM 2063 - 10 Amp

阿根廷IRAM 2073非接地与澳大利亚AS 3112在物理上相同,但插片未半包塑绝缘。

阿根廷IRAM电源线插头图纸


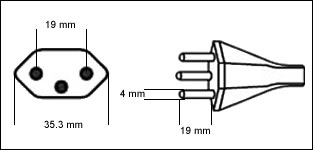
阿根廷IRAM插头

阿根廷 IRAM 2073 - 10 Amp

阿根廷IRAM 2073在结构上与中国GB 2099相同。IRAM 2073 指定该国标准组织的单独批准。
阿根廷10A电源线插头



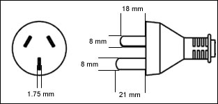
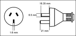
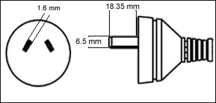
澳大利亚7.5A/10A电源线插头

澳大利亚 AS/NZ-3112 - 7.5/10Amp

澳大利亚和新西兰的 AS 3112 非接地与阿根廷的 IRAM 2073 在结构上相同,但插片是半包塑绝缘的。

澳大利亚两芯7.5A/10A电源线插头


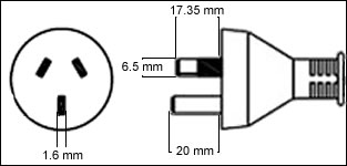
澳大利亚AS/NZS 3112电源线插头

澳大利亚 AS/NZ-3112 - 10 Amp

澳大利亚和新西兰的AS 3112在结构上与阿根廷的IRAM 2073和中国GB 2099相同,但插片是半包塑绝缘的。


澳大利亚10A电源线插头


澳大利亚 AS/NZS 3112重型电源线插头

澳大利亚 AS/NZ 3112 - 15 Amp

澳大利亚和新西兰的 AS 3112 15 安培版本具有更宽的接地插片,不允许插入 10 安培插座。

澳大利亚AS/NZS 3112 15A插头

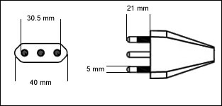
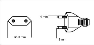
巴西 NBR 6147两芯电源线

巴西 NBR 6147 - 2.5/10/12 Amp

巴西NBR6147无接地两芯插头新标准.

巴西两芯插头图纸

巴西NBR 14136电源线

巴西 NBR 14136 - 10/12 Amp

最新标准的三芯巴西插头,且不同电流安数的插头中的插针尺寸不同。

巴西NBR 14136电源插头

巴西16A NBR 14136插头

巴西 NBR 14136 - 16 Amp

最新标准的三芯巴西插头,且不同电流安数的插头中的插针尺寸不同。

巴西16A插头图纸

英国BS 1363 A插头

英国 BS-1363 - 13 Amp

英国 BS 1363A 通常有一个 13 安培的保险丝,并在整个英国使用。BS 1363A取代了旧的英国BS 546标准,该标准已在英国不再使用,但仍在印度和南非广泛使用。

英国带保险丝电源线插头图纸


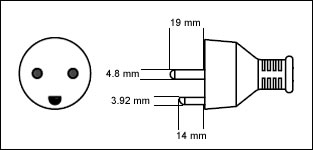
中国CCC GB2099电源线

中国 GB 2099 - 6/10Amp

中国GB 2099非接地似乎与北美的NEMA 1-15在结构上相同。在许多情况下,北美插头无需适配器即可与中国插座配接。然而,中国标准要求比北美标准更严格的尺寸测量。这意味着在某些情况下,北美插头不太适合中国的插座。

中国3C GB2099电源线


国标CCC GB2099电源线

中国 GB 2099 - 10 Amp

中国GB 2099.1-1996在结构上与阿根廷IRAM 2073相同。GB 2099.1-1996名称只是该国标准组织的单独批准。

国标3C GB2099 10A插头

国标CCC 16A GB2099电源线插头

中国 GB 2099 - 16 Amp

中文 GB 2099 16 安培版本具有更宽的接地插片,不得插入 10 安培插座。

国标3C GB2099 16A电源插头

丹麦AFSNIT 107-2-D1 10A电源线

丹麦 AFSNIT 107-2-D1 - 10 Amp

丹麦AFSNIT 107-2-D1也被称为SRAF 1962 / DB 16/87。

丹麦AFSNIT 107-2-D1 - 10A电源线图纸

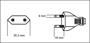
欧洲CEE 7/16插头

欧洲 CEE7/16  - 2.5 Amp

CEE7/16是欧洲大陆大部分地区非接地应用的标准两芯插头。

欧洲CEE 7/16 2.5A插头电源线

欧洲CEE 7/7电源线

欧洲 CEE7/7 (混合种类 E/F) - 16 Amp

CEE7/7 插头既有德国 CEE7/4 插座的侧面接地夹,也有用于接受法国 CEE7/5 插座接地引脚的母触点。

欧洲CEE 7/7 16A电源线


法国CEE7/5 16A插头

法国 CEE7/5 -16 Amp

法国和比利时使用 CEE7/5 墙上插座,该插座有一个圆形插针用于接地。

法国CEE 7/5 16A插头图纸


德国 schuko电源线

德国 Schuko CEE7/4 - 16 Amp

德国和西班牙使用带有侧面接地夹的CEE7/4。

德国CEE 7/4 schuko 16A电源线


印度 IA6A3 6A电源线

印度 IA6A3 - 6 Amp (小型)

印度IS 1293 IA6A3取代了旧的英国标准BS 546 6amp。

印度小型 IS 1293插头


印度16A插头插座

印度 IA16A3 - 16 Amp (大型)

印度IS 1293 IA16A3与南非SABS 164-1相同。这些标准取代了BS 546。

印度 IA16A3 16A大插头电源线

以色列 SI-32 IS16AR插头

以色列 SI-32 IS16AR - 2.5 Amp

以色列SI-32在结构上与欧洲插头相同。

以色列 SI-32 2.5A电源线插头

以色列 SI-32 IS16AR电源线

以色列 SI-32 IS16AR - 16 Amp

以色列 SI-32 与 泰国 TIS 166-2549在结构上相同.

以色列 SI-32 16A电源线插头


意大利 CEI 23-16 10A电源线插头

意大利 CEI 23-16 - 10 Amp

意大利 CEI 23-16 使用中心引脚进行接地.

意大利 CEI 23-16 三芯10A电源线

意大利 CEI 23-16 16A电源线

意大利 CEI 23-16 - 16 Amp

意大利 CEI 23-16 16 安培版本具有更宽的插针,不得插入 10 安培插座。

意大利 CEI 23-16 16A插头


日本JIS 8303电源线

日本 JIS 8303 - 15 Amp

日本JIS 8303接地似乎与北美发现的NEMA 5-15在结构上相同。在许多情况下,北美插头将与没有适配器的日本插座配接。然而,日本标准坚持比北美更严格的尺寸测量。这意味着在某些情况下,北美插头不太适合日本插座。


日本JIS 8303插头

日本 JIS 8303 7A电源线插头


Japanese JIS 8303 - 15 Amp

日本JIS 8303非接地似乎与北美发现的NEMA 1-15在结构上相同。在许多情况下,北美插头将与没有适配器的日本插座配接。但是,日本标准比北美标准更严格的尺寸标准。这意味着在某些情况下,北美插头不太适合日本插座。


日本 JIS 8303 两芯7A插头线


韩国 KSC 8305 两芯电源线

韩国 KSC 8305 - 2.5/3 amp

韩国 KSC 8305 非接地在结构上与欧式插头 CEE7/16 相同。KSC 8305 指定是该国标准组织的单独批准。

韩国 KSC 8305 2.5A/3A插头线


韩国KSC 8305 16A电源线

韩国 KSC 8305 - 16 Amp

韩国KSC 8305在结构上与德国CEE7/4相同。KSC 8305 指定是该国标准组织的单独批准。

韩国 KSC 8305 16A插头

北美 15A 两芯电源线

北美 NEMA 1-15 - 15 Amp - 极化

北美 NEMA 1-15 非接地是美国的标准两芯电源线。有极化一个插片宽度更宽

北美 NEMA 1-15P 15A两芯电源线


北美两芯 15A插头

北美 NEMA 1-15 - 15 Amp - 非极化

北美 NEMA 1-15 非接地是美国的标准两芯电源线。

北美NEMA 1-15P 15A非极化电源线

北美15A三芯插头

北美 NEMA 5-15 Grounded - 15 Amp

北美 NEMA 5-15 是美国的标准三芯电源线插头

北美NEMA 5-15P 15A电源线

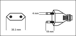
俄罗斯 GOST 7396 15A插头

俄罗斯 GOST 7396 - 16 Amp

俄罗斯 GOST 7396 插针直径 4.0 毫米,而其他欧洲插头和插座的插针直径为 4.8 毫米。因此,俄罗斯/苏联 GOST 7396 插座可能不接受欧洲 CEE7/4、CEE7/7 和 CEE7/16 插头上的较大插孔。


俄罗斯 GOST 7396 15A电源线


瑞士 SEV 1011 3芯10A电源线

瑞士 SEV 1011 - 10 Amp

瑞士SEV 1011也将接受欧洲插头 CEE7 / 16,但是,将不接地。


瑞士SEV 1011 三芯10A插头


瑞士 SEV 三芯 16A SEV 1011电源线

瑞士 SEV 1011 - 16 Amp

瑞士 SEV 1011 16 安培版本具有更粗的插针,不得插入 10 安培插座。

瑞士SEV 1011 16插头

cas号查询
CoryRight © 1997-2025 嫩草二三切换线路转嫩草 浙ICP备2022034526号